黑龙江室内环境网
Heilongjiang indoor environment network
咨询热线:
0451-86241336
首页
新闻动态
最新动态
政策法规
国家标准
视频中心
图片新闻
检测服务
检测标准
检测流程
检测案例
检测项目
无接触自主采样
检测项目
室内环境质量
建筑工程环境
装修材料污染
电磁辐射污染
噪声检测
公共场所检测
职业卫生检测
水质检测
土壤检测
废气检测
环保专题
室内污染及防治
车内污染及防治
环保装修
环保常识
爱心公益
爱心奉献
公益活动
社会援助
网站公告
公告
培训
科研
推介
关于我们
中心简介
室康文化
中心优势
机构荣誉
检测资质
现代化实验室
检测实景
检测预订
联系我们
联系信息
加盟合作
招聘信息
首页
新闻动态
最新动态
政策法规
国家标准
视频中心
图片新闻
检测服务
检测标准
检测流程
检测案例
检测项目
无接触自主采样
检测项目
室内环境质量
建筑工程环境
装修材料污染
电磁辐射污染
噪声检测
公共场所检测
职业卫生检测
水质检测
土壤检测
废气检测
环保专题
室内污染及防治
车内污染及防治
环保装修
环保常识
爱心公益
爱心奉献
公益活动
社会援助
网站公告
公告
培训
科研
推介
关于我们
中心简介
室康文化
中心优势
机构荣誉
检测资质
现代化实验室
检测实景
检测预订
联系我们
联系信息
加盟合作
招聘信息
新闻资讯
News Center
最新动态
政策法规
国家标准
视频中心
图片新闻
咨询服务热线:
0451-86241336
扫一扫 关注我们
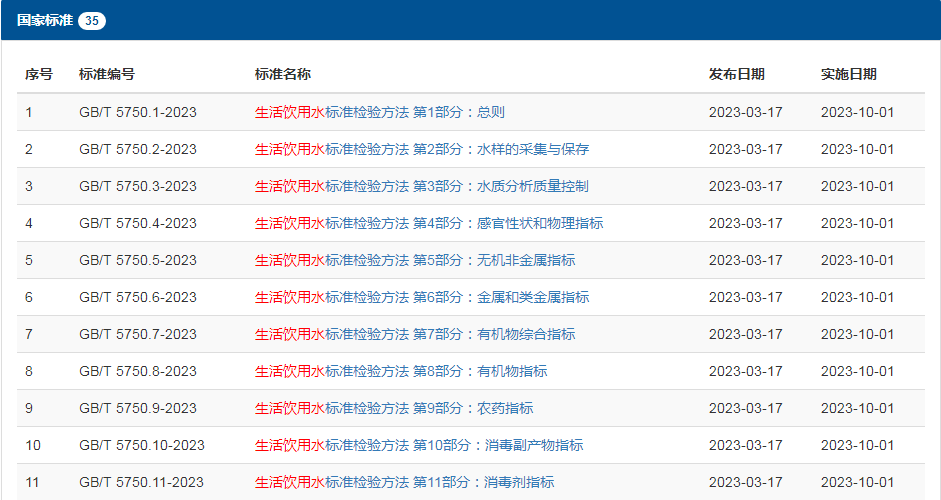
新版GB/T 5750《生活饮用水检验方法》正式发布
发布时间:2023-04-06 浏览次数:263
水是生命的源泉,是人类赖以生存和发展不可或缺的重要资源之一,饮用水安全是关乎全人类生存与发展的重要议题。
GB/T 5750-2023《生活饮用水标准检验方法》系列标准于2023年3月17日经国家市场监督管理总局(国家标准化管理委员会)批准发布,将于2023年10月1日起正式实施。该标准代替实施16年之久的GB/T 5750-2006 《生活饮用水标准检验方法》系列标准,是我国GB 5749《生活饮用水卫生标准》配套检验方法的系列标准,是开展生活饮用水卫生安全保障工作的重要技术基础。
返回
上一篇:
室康检测祝中秋国庆双节快乐!
下一篇:
"室康检测"携手央视认证陈皮品牌“粤一宝”共同推进龙江品牌建设